时间:2025-12-03 编辑:news
在使用掌游宝的过程中,有时我们可能会因为各种原因想要注销账号。那么,掌游宝怎么注销账号呢?下面就为大家详细介绍。

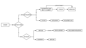
首先,打开掌游宝应用程序。进入主界面后,找到并点击界面右下角的“我的”选项。这一步是进入个人设置及账号管理页面的关键入口。
在“我的”页面中,仔细寻找“设置”选项。通常它会以一个齿轮状的图标显示,点击该图标进入设置页面。
进入设置页面后,在众多选项中找到“账号与安全”一项。这是与账号操作直接相关的设置区域。
在“账号与安全”页面里,向下滚动找到“注销账号”选项。注意,在点击“注销账号”之前,请确保你已经备份好账号内的重要信息,如游戏记录、收藏内容等,因为注销账号后这些数据将无法恢复。
点击“注销账号”后,系统会弹出注销账号的提示框,告知你注销账号的相关后果及注意事项。请认真阅读这些提示内容,确认无误后,按照提示进行身份验证。身份验证方式可能包括输入注册手机号、密码等,以确保是账号所有者本人在操作。
验证通过后,根据系统提示填写注销原因等相关信息。填写完毕后,点击“提交注销申请”按钮。
提交申请后,掌游宝会进入审核流程。一般情况下,审核时间不会太长。在审核期间,你可以留意手机短信或掌游宝内的通知消息,以了解审核进度。
如果审核通过,掌游宝会再次向你确认是否真的要注销账号。确认后,账号将被正式注销,你将无法再使用该账号登录掌游宝。
总之,注销掌游宝账号需要按照一定的步骤进行操作,确保在注销前做好数据备份,并认真阅读相关提示。通过以上流程,就能顺利完成掌游宝账号的注销。
时代发展的趋势就是电子书会逐步替代实体书,成为主流的阅读模式,用户只需要安装一款手机阅读app,就可以随时获取自己喜欢看的内容,上面每日更新各类图书包括备受欢迎的小说和经典的出版物,而且现在阅读app都针对阅读习惯提供了多种阅读背景,选择适应自己眼睛的即可。
给大家带来很多实用的备份软件,重要的办公信息都能有效的备份起来,防止各种重要的数据丢失,一键就可以备份好,操作都很轻松,备份信息都会自动的划分好,用户寻找起来都很简单,可以自由去编辑备份的信息内容,主要的信息删除丢失后,我们还可以去使用备份着的数据信息。